Wyszukiwarka
- Brelok zbliżeniowy RFID BS-02 125kHz
- Karta zbliżeniowa Unique RFID 125kHz
- Brelok zbliżeniowy RFID BS-04 125kHz
- Brelok zbliżeniowy do czytników RFID 125 kHz
- Elektrozaczep standardowy Scot ES-S12AC/DC PROFI, 5lat gwarancji
- Wideodomofon furtka + brama breloki pamięć 7"
- Brelok zbliżeniowy RFID Mifare 1k, 13,56 MHz
- Wideodomofon Wi-Fi z czytnikiem kluczy i szyfratorem. Otwiera furtkę i bramę.
- Scot elektrozaczep rygiel 12V ES-S12AC/DC Profi, 5 lat gw.
- Wideodomofon Eura Neptun VDP-20A3 kolor 7'' otwieranie furtki i bramy
- Wideodomofon Eura VDP-18A3 Mars kolor 4,3'' otwieranie furtki i bramy
- Domofon Stacja bramowa Commax DR-201A
Producenci
Instrukcje:
Cenniki do pobrania
Wideodomofon Wi-Fi z czytnikiem kluczy i szyfratorem. Otwiera furtkę i bramę.
dodaj do przechowalni
Opis
Jednorodzinny wideodomofon Eura VDP-90A3 Delta+ z serii Eura Connect+ jest idealnym rozwiązaniem dla użytkowników poszukujących urządzeń realizujących kontrolę strefy wejścia na teren posesji. Zestaw składa się z monitora VDA-41A3 WiFi, kasety zewnętrznej VDA-83A3 oraz adaptera sieciowego DC 12V - VZA-63A3. Oprócz standardowych funkcji — komunikacji z osobą odwiedzającą, podglądu otoczenia kamery oraz sterowania ryglem przy wejściu na posesję wideodomofon umożliwia obsługę drugiego wyjścia, np. bramy.
Głośnomówiący monitor Eura VDA-41A3 posiada wbudowany moduł WiFi umożliwiający obsługę urządzenia za pomocą aplikacji Eura Connect dostępnej na platformy Android i iOS. Po naciśnięciu przycisku wywołania na kasecie zewnętrznej, następuje równoległe wywołanie monitora oraz smartfona wyposażonego w aplikację mobilną TUYA, dzięki której możliwe jest odbieranie połączeń, sterowanie ryglem elektromagnetycznym i automatem bramowym, manualne wykonywanie zdjęć oraz rejestrowanie filmów w trakcie trwania połączenia.
Ponadto monitor VDA-41A3 posiada 7'' ekran charakteryzujący się obrazem o doskonałej jakości. Urządzenie wyposażone jest w pokrętła regulacyjne umożliwiające dostosowanie głośności rozmowy, jasności oraz nasycenia obrazu. Używając przycisku znajdującego się nad pokrętłami, użytkownik może wybrać jedną z 16 dostępnych melodii gongu, a przesuwając przełącznik — zmienić jej głośność.
Montowana natynkowo kaseta zewnętrzna VDA-83A3 to urządzenie o nowoczesnej stylistyce posiadające błękitnie podświetlany szyfrator.
Kaseta zewnętrzna wykonana jest ze stopu aluminium i tworzywa sztucznego, odpornego na opady atmosferyczne dodatkowo zabezpieczony daszkiem. Kasetę wyposażono w kamerę rejestrującą obraz w rozdzielczości 1080P z obiektywem o polu widzenia 115º. Wejście na posesje może być realizowane przy użyciu dotykowego szyfratora poprzez wpisanie poprawnego kodu lub za pomocą czytnika zbliżeniowego obsługującego breloki i karty. Dodatkowo kaseta zewnętrzna posiada oświetlenie nocne w postaci 6 diod IR.
Najważniejsze cechy:
- Kolorowy wideodomofon z ekranem 7 cali
- 2 wejścia (furtka - brama)
- Czytnik kart-breloków
- Zamek szyfrowy
- Wbudowany moduł WiFi
- Podświetlenie osoby odwiedzającej w nocy światłem diodami led
- W zestawie 7 sztuk breloków (5 dla użytkowników i 2 funkcyjne)
- Możliwość rozbudowy o kolejny monitor
APLIKACJA MOBILNA - EuraConnect
Darmowa aplikacja Eura Connect dostępna na platformy iOS i Androidpozwala na:
- odbieranie połączeń przychodzących,
- podgląd obrazu otoczenia kamery zewnętrznej,
- zwalniania rygla i otwieranie bramy (zarówno po odebraniu połączenia jak i w trybie podglądu),
- ręczne zapisywanie zdjęć lub rejestrację filmów z rozmowy podglądu,
- wgląd w historię połączeń,
- wybór melodii dzwonka z pamięci telefonu.
Głośnomówiący monitor Eura VDA-41A3.
Urządzenie posiada wbudowany moduł WiFi umożliwiający obsługę urządzenia za pomocą aplikacji Eura Connect dostępnej na platformy Android i iOS. Po naciśnięciu przycisku wywołania na kasecie zewnętrznej, następuje równoległe wywołanie monitora oraz smartfona wyposażonego w aplikację mobilną Eura Connect, dzięki której możliwe jest odbieranie połączeń, sterowanie ryglem elektromagnetycznym i automatem bramowym, manualne wykonywanie zdjęć oraz rejestrowanie filmów w trakcie trwania połączenia.
Ponadto monitor Eura VDA-41A3 posiada 7'' ekran charakteryzujący się obrazem o doskonałej jakości. Urządzenie wyposażony jest w pokrętła regulacyjne umożliwiające dostosowanie głośności rozmowy, jasności oraz nasycenia obrazu. Używając przycisku znajdującego się nad pokrętłami, użytkownik może wybrać jedną z 16 dostępnych melodii gongu, a przesuwając przełącznik — zmienić jej głośność.
MONITOR - Eura VDA-41A3:
- Napięcie wyjściowe dla rygla elektromagnetycznego: 12 V DC
- Pobór mocy monitora - czuwanie / praca: 2 W / 7 W
- Wielkość / Rozdzielczość ekranu: 7''/ 1024x600 pikseli
- Rodzaje wyjść: Wyjście 1: 12V DC 350mA | Wyjście 2: N.O. 1A/ 24V DC
- Ilość melodii gongu: 16
- Wbudowany moduł WiFi: Tak
- Moc nadajnika WiFi: 2dBi
- Współczynnik ochrony: IP20
- Kolor monitora: czarny lub biały
- Wymiary monitora (W x SZ x G) 152 x 215 x 23 mm
- Temperaturowy zakres pracy monitora: 0ºC ~ +40ºC
KASETA ZEWNĘTRZNA - Eura VDA-80A3:
- Napięcie zasilania: 12 V DC
- Parametry sygnału wideo: 1Vp-p 75 Ohm CCIR
- Ilość przewodów łączących: 4
- Ilość obsługiwanych lokali: 1
- Napięcie wyjściowe dla rygla elektromagnetycznego: 12 V DC + konieczność podłączenia zasilacza do kasety
- Pobór mocy kasety zewnętrznej (czuwanie / praca): 1,2 W / 5 W
- Rozdzielczość obrazu: 1080P
- Kąt widzenia kamery w poziomie:115º
- Typ przetwornika kamery: Kolor CMOS 1/4''
- Czas aktywacji rygla: 3 ~ 5 s
- Materiał obudowy: Stop aluminium, tworzywo sztuczne
- Sposób montażu kasety zewn.: Natynkowy
- Oświetlenie nocne: 5 diod LED (światło białe) z cz. zmierzchowym
- Czytnik zbliżeniowy: Tak
- Szyfrator: Tak, dotykowy (podświetlane klawisze)
- Współczynnik ochrony: IP44
- Temperaturowy zakres pracy kasety: -18ºC ~ +40ºC
- Wymiary kasety zewn. (W x SZ x G): 198 x 82 x 52 mm
- Waga netto kasety: 584 g
Oprócz 5 breloków służących do otwierania posesji, do kasety dołączone są breloki master - służące do programowania urządzenia.
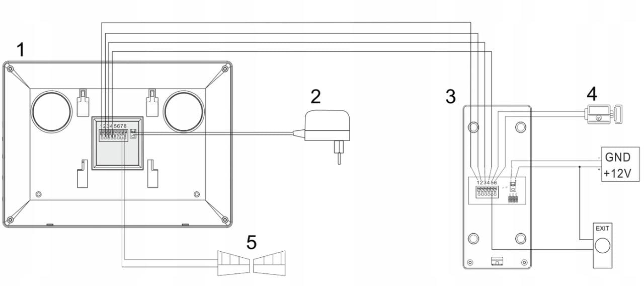
Schemat podłączenia:

